Запасные части ЧТЗ Запасные части ЧТЗ
Петропавловск
Например:
Актобе
Алдан
или
Выбрать автоматически
Актобе
Алдан
Алматы
Алчевск
Архангельск
Астана
Астрахань
Атырау
Баку
Балашиха
Барнаул
Белгород
Бердянск
Бишкек
Владивосток
Владикавказ
Воркута
Воронеж
Горловка
Грозный
Донецк
Екатеринбург
Иваново
Ижевск
Иркутск
Казань
Калининград
Каменск-Уральский
Караганда
Каховка
Кемерово
Киров
Комсомольск-на-Амуре
Костанай
Краснодар
Красноярск
Красный луч
Ленск
Луганск
Магадан
Магнитогорск
Макеевка
Махачкала
Мелитополь
Минск
Мирный (Якутия)
Москва
Мурманск
Нерюнгри
Нижневартовск
Нижний Новгород
Нижний Тагил
Новая каховка
Новокузнецк
Новосибирск
Новый Уренгой
Норильск
Ноябрьск
Нур-Султан
Омск
Оренбург
Ош
Павлодар
Пермь
Петрозаводск
Петропавловск
Петропавловск-Камчатский
Псков
Ростов-на-Дону
Салехард
Самара
Санкт-Петербург
Саратов
Севастополь
Семей
Симферополь
Сочи
Ставрополь
Сургут
Сыктывкар
Тараз
Ташкент
Токмак
Томск
Тында
Тюмень
Ульяновск
Усинск
Усть-Каменогорск
Уфа
Хабаровск
Ханты-Мансийск
Херсон
Челябинск
Чита
Шымкент
Экибастуз
Энергодар
Южно-Сахалинск
Якутск
Ваш город
Петропавловск
Войти
Запасные части к тракторам на одном сайте
+7 (932) 303-00-10
+7 (932) 303-00-10
г. Петропавловск, ул. Ахременко, д. 15
Пн-Пт: 9:30-18:30 Cб-Вс: Выходной
Отправить заявку


Гидроцилиндр 749-72-253СП, 749-72-253-01СП на ДЭТ-320Б1Р2 ЧТЗ


/
с НДС 20%
Описание
Гидроцилиндр 749-72-253СП, 749-72-253-01СП
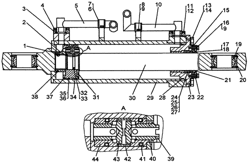
Поз.ОбозначениеНаименованиеКол-во
1749-72-268Винт1
2749-72-267Гайка1
3749-72-368Полуфланец4
4040-048-46-2-2Кольцо 2
5749-72-239СП; 749-72-238СПМаслопровод1
6749-72-367Втулка2
7749-72-366Хомут2
8М12-6gх20.46.019 Болт 4
912ОТ 65Г 09Шайба 16
10749-72-249СП; 749-72-250СПМаслопровод1
11М14-6gх50.58.019Болт 8
1214ОТ 65Г 09Шайба 8
13М24-8gх65.58.019Болт 12
1424Т 65Г 09Шайба 12
15749-72-261Шайба регулировочная78
16М12-6gх35.58.019Болт 12
17749-72-259-01Чистик8
18749-72-259Чистик16
19ШСЛ-80Подшипник 2
20700-58-2084 Кольцо В125 Ц9.хр4
21749-72-269Втулка1
22749-72-258Скребок1
23749-72-237СПКрышка1
24749-72-427Кольцо опорное КО 100x125-21
25Кольцо 190-200-58-2-21
26М100x125-2Манжета 3
27749-72-428Кольцо нажимное КН 100x125-21
28749-72-376Кольцо распорное1
29749-72-234СПКорпус1
30749-72-257-01Шток1
31749-72-425Кольцо1
32749-72-263Кольцо распорное2
33079-085-36-2-2Кольцо 1
34749-72-378Втулка2
35749-72-377 Кольцо2
36180-190-58-2-2Кольцо 2
37749-72-424Поршень1
38749-72-264Кольцо защитное1
39749-72-423Клапан1
40749-72-420Втулка1
41024-030-36-2-2Кольцо 2
42749-72-421Втулка1
43749-72-422Клапан1
44749-72-419Втулка1
Гидроцилиндр 749-72-253СП, 749-72-253-01СП